正规买篮球app
热门标签

hga025怎么登录 _李亚鹏否认丽江项目失败,称开盘就是丽江销售第一,两年卖了70个亿

时间:2025-06-03   阅读:5202   评论:152

皇冠欧冠联赛皇冠体育_怎么注册代理—皇冠信用网招登1登2登3皇冠信用网平台出租)近日,李亚鹏在社交平台发视频辟谣丽江项目失败:丽江项目做得挺好的,在2015年开盘,就是丽江销售的第一名,20、21年还逆势卖了70个亿,赚肯定赚了,这10年光发工资就发了几个小目标hga025怎么登录 。李亚鹏还称,烂尾房是多年前的假新闻,法院已经判了,造谣者也道歉了。

hga025怎么登录
_李亚鹏否认丽江项目失败hga025怎么登录
,称开盘就是丽江销售第一,两年卖了70个亿

hga025怎么登录
_李亚鹏否认丽江项目失败hga025怎么登录
,称开盘就是丽江销售第一,两年卖了70个亿

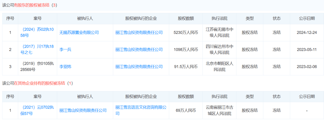
李亚鹏持股公司又遭强执hga025怎么登录 !

5月27日消息,天眼查显示,丽江雪山投资有限责任公司新增3条被执行人信息,被执行总金额约244万元,执行法院均为丽江市古城区人民法院hga025怎么登录 。

hga025怎么登录
_李亚鹏否认丽江项目失败hga025怎么登录
,称开盘就是丽江销售第一,两年卖了70个亿

展开全文

丽江雪山投资有限责任公司成立于2008年11月,法定代表人为李国栋,注册资本约2.6亿人民币,由阳光壹佰置业集团有限公司、李亚鹏等共同持股,其中,李亚鹏持股约27.8%hga025怎么登录 。

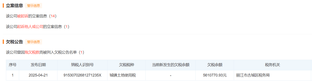
风险信息显示,上述公司已被限制高消费,并存在多条股权冻结信息,还曾因该拖欠税款而被列入欠税公告名单hga025怎么登录 。

hga025怎么登录
_李亚鹏否认丽江项目失败hga025怎么登录
,称开盘就是丽江销售第一,两年卖了70个亿

hga025怎么登录
_李亚鹏否认丽江项目失败hga025怎么登录
,称开盘就是丽江销售第一,两年卖了70个亿

李亚鹏目前担任两家企业的法定代表人,和6家公司的股东(一家已注销)hga025怎么登录 。

hga025怎么登录
_李亚鹏否认丽江项目失败hga025怎么登录
,称开盘就是丽江销售第一,两年卖了70个亿

除丽江雪山投资有限责任公司外,李亚鹏还有多条股权冻结等周边风险信息hga025怎么登录 。李亚鹏已于2023年10月被北京市朝阳区人民法院限制高消费。

hga025怎么登录
_李亚鹏否认丽江项目失败hga025怎么登录
,称开盘就是丽江销售第一,两年卖了70个亿

李亚鹏,毕业于中央戏剧学院表演系,男演员、商人hga025怎么登录 。其代表作品有《青春作证》《将爱情进行到底》《笑傲江湖》等影视作品。2014年,李亚鹏宣布退出娱乐圈。

每日经济新闻综合公开消息

每日经济新闻

上一篇:hga025怎么登录 _韩国新总统最快4日上任,学者:李在明若胜将大幅调整外交政策

下一篇:皇冠信用网出租 _提前涨停!002875,重大宣布!明日停牌

网友评论