皇冠信用网开户_小米SUV隐藏式门把手遭吐槽!雷军评论区沦陷
时间:2024-12-10 阅读:11706 评论:152
皇冠体育开户(www.hgty.us—)开会员号,招代理/条件好/平台出租/招登1登2登3地区代理今年3月,小米SU7上市发布皇冠信用网开户。发布会上,小米董事长雷军对小米SU7的半隐藏式门把手进行了大篇幅的介绍,车型上市后这一设计也获得了大量车主的认可。
然而,12月9日晚间,小米首款SUV——小米YU7登陆工信部,证件照显示该车似乎放弃了半隐藏式门把手,改用了真正的全隐藏式门把手皇冠信用网开户。
目前,有大量网友对于小米弃用半隐藏式门把手感到不满,雷军本人的评论区里更是有不少人希望小米可以给出解释,甚至直接重新改回半隐藏式门把手,相关评论最高获得了接近4000点赞皇冠信用网开户。
展开全文
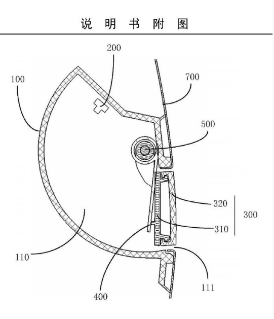
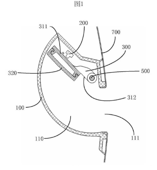
然而,虽然工信部照片显示小米YU7的门把手设计与小米SU7不同,但根据此前的一份申请专利,小米YU7的门把手或许并非大家认为的弹出式,其表面可能只是一个盖子,打开后用户可以伸手进去拉开车门,是小米SU7半隐藏式门把手的升级版皇冠信用网开户。
不过截止发稿前,小米官方暂未公布YU7的门把手设计细节,以上只是根据专利推测皇冠信用网开户。
工信部信息显示,小米YU7的长宽高分别为4999mm/1996mm/1600mm,轴距3000mm,搭载了前后双电机,电动机型号分别为YS210XY103/TZ220XY109,最高功率508千瓦,整车质量为2405kg皇冠信用网开户。
本文转载自手机中国皇冠信用网开户。
猜你喜欢
- 2025-10-07皇冠登一登二登三区别_青海门源县老虎沟137人安全转移,当地部门:严禁在未开发区域开展旅游、探险等
- 2025-10-07皇冠信用網账号_美都不敢说的话,台湾全说了,福建舰是否一打就垮,有本事试试?
- 2025-10-07皇冠信用網账号_打车不给过路费被送回起点,乘客司机都不该太任性 |新京报快评
- 2025-10-06如何申请皇冠代理_央行,积极信号!A股,最新研判来了
- 2025-10-06皇冠信用网代理_省财政向湛江、茂名等受灾严重地区拨付救灾资金5000万元
- 2025-10-04皇冠代理登1,2,3_WTT中国大满贯:费利克斯·勒布伦胜陈俊菘晋级男单四强
- 2025-10-04welcome皇冠注册_向鹏:战胜雨果赢在必胜信念 竞技体育起伏很正常
- 2025-10-04皇冠信用平台出租出售_WTT中国大满贯曼曼组合女双登顶 王曼昱:有时候需要有人能够扛住
- 2025-10-04皇冠信用平台出租出售_日本迎来第一位女首相!高市早苗拿下自民党总裁选举
- 2025-10-03皇冠信用網会员_浙江省纪委常委、秘书长章青山已赴宁波市任职
- 2025-10-03皇冠信用網最高占成_河南唯一!洛阳设民营经济发展局,精准护航73万市场主体
- 2025-10-02信用平台出租_变天了,美国媒体首次公开承认,美海军在舰载机领域被福建舰击败
网友评论